Apple headphone intercom feature likely to follow Apple Watch and HomePod<div class="feat-image">

</div>
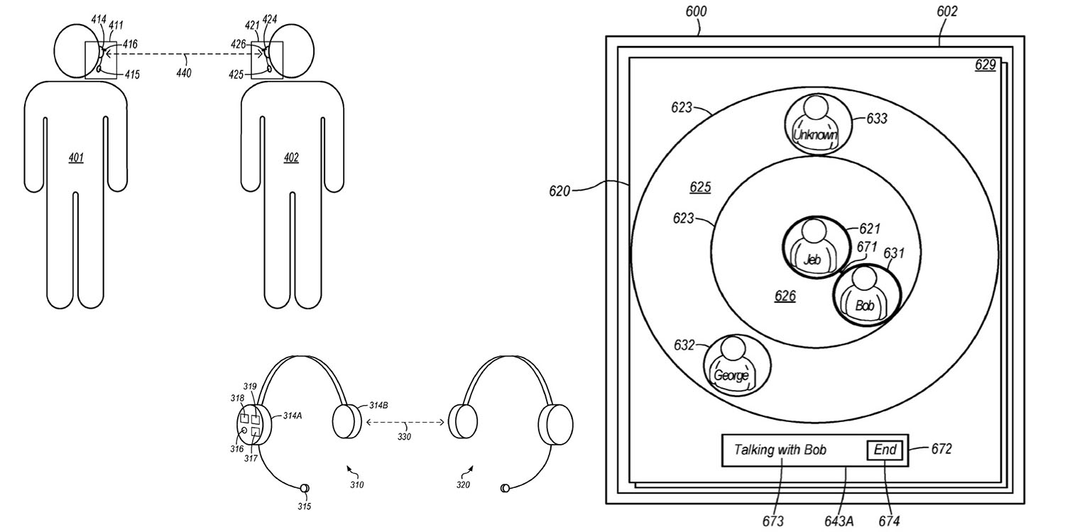
<p>We always caution that you can never tell which Apple <a href="
https://9to5mac.com/guides/patents/" target="_blank" aria-label="undefined (opens in a new tab)" rel="noreferrer noopener">patents[/url] will actually make it into products, but a patent for an Apple headphone intercom feature has to be a good bet. </p>
<p>Apple first debuted an intercom feature — albeit <a aria-label="undefined (opens in a new tab)" href="
https://9to5mac.com/2018/06/19/walkie-talkie-apple-watch-watchos-5-beta-2-video/" target="_blank" rel="noreferrer noopener">branded as walkie-talkie[/url] — on the Apple Watch. A couple of years later, it brought <a aria-label="undefined (opens in a new tab)" href="
https://9to5mac.com/2020/10/21/how-homepod-intercom-works-on-apple-watch/" target="_blank" rel="noreferrer noopener">a more advanced version[/url] of <a aria-label="undefined (opens in a new tab)" href="
https://9to5mac.com/2020/11/05/ios-14-2-release-new-features/" target="_blank" rel="noreferrer noopener">the same idea to HomePod[/url]. And now an Apple patent application describes how the company might bring another more advanced form of intercom functionality to headphones… </p>
<p> <a href="
https://9to5mac.com/2020/11/17/apple-headphone-intercom/#more-680011" class="more-link">more…[/url]</p>
<p>The post <a rel="nofollow" href="
https://9to5mac.com/2020/11/17/apple-headphone-intercom/">Apple headphone intercom feature likely to follow Apple Watch and HomePod[/url] appeared first on <a rel="nofollow" href="
https://9to5mac.com">9to5Mac[/url].</p><div class="feedflare">
<img src="[url]http://feeds.feedburner.com/~ff/9To5Mac-MacAllDay?i=HOOTEve_DUk:ZdI43HQTKQA:D7DqB2pKExk" border="0"></img>[/url]
</div><img src="
http://feeds.feedburner.com/~r/9To5Mac-MacAllDay/~4/HOOTEve_DUk" height="1" width="1" alt=""/>
Source:
Apple headphone intercom feature likely to follow Apple Watch and HomePod