Apple patent filing details dual version of the Pro Stand for Pro Display XDR<div class="feat-image">

</div>
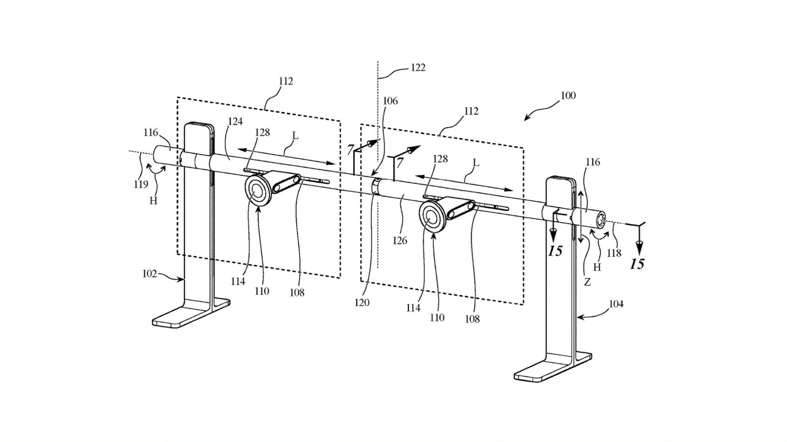
<p>A new patent filing from Apple shows how the company is working on developing a dual monitor stand for the Pro Display XDR. The current Pro Stand is an elegant yet expensive accessory for the
Pro Display XDR, and this patent filing shows how Apple might take things up a notch.</p>
<p> <a href="
https://9to5mac.com/2020/12/03/pro-display-xdr-dual-stand-patent/#more-683042" class="more-link">more…[/url]</p>
<p>The post <a rel="nofollow" href="
https://9to5mac.com/2020/12/03/pro-display-xdr-dual-stand-patent/">Apple patent filing details dual version of the Pro Stand for Pro Display XDR[/url] appeared first on <a rel="nofollow" href="
https://9to5mac.com">9to5Mac[/url].</p><div class="feedflare">
<img src="[url]http://feeds.feedburner.com/~ff/9To5Mac-MacAllDay?i=yibP72BEEzc:KDQT00xHF88:D7DqB2pKExk" border="0"></img>[/url]
</div><img src="
http://feeds.feedburner.com/~r/9To5Mac-MacAllDay/~4/yibP72BEEzc" height="1" width="1" alt=""/>
Source:
Apple patent filing details dual version of the Pro Stand for Pro Display XDR